(в ред. Приказа Ростехнадзора от 19.11.2019 N 442)
(см. текст в предыдущей редакции)
62. При пересечении поперечных стыковых сварных соединений деталей (или сборочных единиц) с продольными сварными соединениями совмещение осей продольных швов двух соседних деталей не допускается.
Оси указанных швов должны быть смещены относительно друг друга на расстояние, составляющее не менее трехкратной номинальной толщины более толстостенной из соединяемых деталей, но не менее чем на 100 мм.
Указанное требование не распространяется на швы деталей с номинальным наружным диаметром менее 100 мм и на детали (или сборочные единицы) с продольными швами, выполненные автоматической сваркой, при условии проведения радиографического и (или) ультразвукового, а также капиллярного или магнитопорошкового контроля участков сопряжения или пересечения продольных и поперечных швов.
63. При изготовлении днищ или крышек из нескольких деталей с расположением швов по хорде расстояние
от внешнего края шва до параллельного хорде диаметра днища или крышки по проекции должно быть не более 0,2 от номинального внутреннего диаметра днища или крышки D (рис. 8).
(в ред. Приказа Ростехнадзора от 19.11.2019 N 442)
(см. текст в предыдущей редакции)

Рис. 8. Расположение хордовых швов
Расстояние b между внешним краем кругового шва на днищах и крышках (за исключением сферических и тарельчатых) и центром днища или крышки должно быть не более 0,25 от номинального внутреннего диаметра D днища или крышки. Минимальное расстояние c между краями двух соседних радиальных или круговых швов должно быть не менее трех номинальных толщин S днища или крышки, но не менее 100 мм (рис. 9). Требования к расположению кругового шва не распространяются на швы приварки крышек и днищ к фланцам и обечайкам.
(в ред. Приказа Ростехнадзора от 19.11.2019 N 442)
(см. текст в предыдущей редакции)

Рис. 9. Расположение радиальных и круговых швов
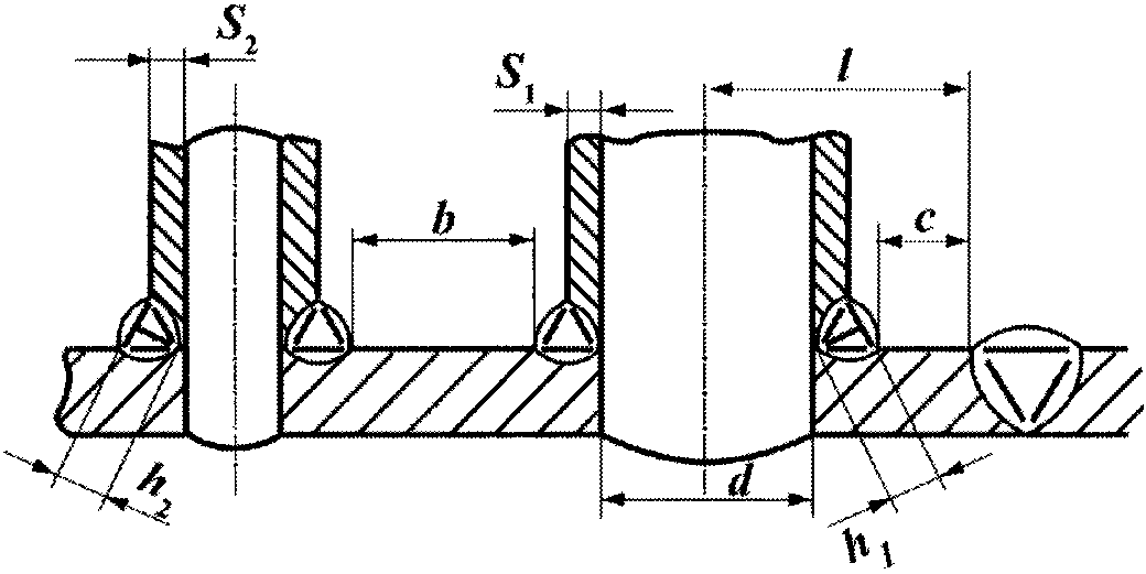
64. Расстояние c между краем углового шва приварки штуцера, люка, трубы или других цилиндрических полых деталей и краем ближайшего стыкового шва оборудования или трубопровода должно быть не меньше трехкратной расчетной высоты углового шва h1, и не меньше трехкратной номинальной толщины стенки S1 привариваемой детали (рис. 10).
(в ред. Приказа Ростехнадзора от 19.11.2019 N 442)
(см. текст в предыдущей редакции)

Рис. 10. Расположение сварных соединений
приварки патрубков: с
3h1; с
3S1; l
0,9d; b
3h2;
b
3S2 (S2 > S1, h2 > h1)
65. Расстояние l между краем стыкового шва оборудования или трубопровода и центром ближайшего к нему отверстия должно быть не менее 0,9 от диаметра отверстия d при соблюдении требования пункта 64 настоящих Правил (рис. 10).
(в ред. Приказа Ростехнадзора от 19.11.2019 N 442)
(см. текст в предыдущей редакции)
66. Расстояние b между краями ближайших угловых швов приварки патрубков, штуцеров или труб к оборудованию (или трубопроводам) должно быть не менее трех расчетных высот углового шва или трех номинальных толщин стенок привариваемых деталей (рис. 10). При различных значениях указанных высот или толщин должно приниматься их большее значение. Указанные требования не распространяются на вварку труб в трубные доски (решетки) и коллекторы, трубные доски технологических каналов, каналов СУЗ и других каналов.
(в ред. Приказа Ростехнадзора от 19.11.2019 N 442)
(см. текст в предыдущей редакции)
67. Расстояние между осями соседних поперечных стыковых швов цилиндрических и конических деталей должно быть не менее трехкратной номинальной толщины стенки свариваемых деталей (по большей толщине), но не менее 100 мм для деталей, имеющих номинальный наружный диаметр более 100 мм, и не менее указанного диаметра при его значении до 100 мм включительно.
Указанное требование не распространяется на швы приварки трубопроводов к патрубкам оборудования, если патрубки подвергались термической обработке в составе оборудования, а также на швы приварки трубных досок и деталей типа колец, имеющих толщину, превышающую более чем в 2 раза высоту отбортовки под сварку.
68. Расстояние от края углового шва штуцера до края ближайшего шва трубы при приварке штуцеров к камерам измерительных диафрагм должно быть не менее трех толщин стенки привариваемого штуцера и трехкратной расчетной высоты углового шва. Указанное требование не распространяется на штуцера с наружным диаметром до 30 мм измерительных устройств с соплами и диафрагмами.
(в ред. Приказа Ростехнадзора от 19.11.2019 N 442)
(см. текст в предыдущей редакции)
69. При приварке не нагружаемых давлением плоских деталей к поверхностям оборудования и трубопроводов расстояние
между краем углового шва приварки этих деталей и краем ближайшего стыкового шва и расстояние b между краями угловых швов ближайших привариваемых деталей должны быть не менее трех расчетных высот угловых швов (рис. 11). Расстояние b между определяется по наибольшей расчетной высоте углового шва.
(в ред. Приказа Ростехнадзора от 19.11.2019 N 442)
(см. текст в предыдущей редакции)
При приварке деталей и устройств к корпусу оборудования допускается пересечение стыковых швов корпуса угловыми швами с расчетной высотой не более 0,5 от номинальной толщины стенки корпуса, но не более 10 мм.

Рис. 11. Расположение сварных соединений приварки деталей
к оборудованию и трубопроводам
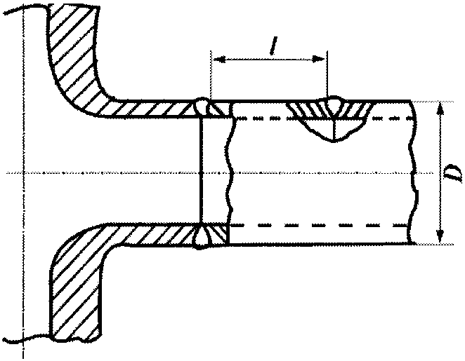
70. Расстояние l между краем стыкового шва трубопровода с патрубком или штуцером оборудования и краем ближайшего стыкового шва на трубопроводе должно быть не менее 100 мм для трубопроводов с номинальным наружным диаметром более 100 мм, но не менее номинального наружного диаметра D для трубопроводов меньшего диаметра (рис. 12).
(в ред. Приказа Ростехнадзора от 19.11.2019 N 442)
(см. текст в предыдущей редакции)

Рис. 12. Расположение сварных соединений трубопровода
с патрубком
71. В подлежащих местной термической обработке стыковых сварных соединениях цилиндрических деталей длина L свободного прямого участка в каждую сторону от оси шва (или от осей крайних швов при одновременной термической обработке группы сварных соединений) определяется по формуле:
где D - номинальный наружный диаметр соединяемых деталей; S - наибольшая из номинальных толщин соединяемых деталей.
Длина указанных участков должна быть не менее номинального наружного диаметра сваренных деталей при его значениях до 100 мм включительно и не менее 100 мм при значениях диаметра более 100 мм.
Свободным прямым участком считается участок (с наклоном не более 15°) от оси шва до края ближайшей приварной детали, начала гиба, края соседнего поперечного шва.
72. В подлежащих ультразвуковому контролю стыковых сварных соединениях трубопроводов длина свободного прямого участка в каждую сторону от оси шва должна быть не менее указанной в таблице N 2.
- Гражданский кодекс (ГК РФ)
- Жилищный кодекс (ЖК РФ)
- Налоговый кодекс (НК РФ)
- Трудовой кодекс (ТК РФ)
- Уголовный кодекс (УК РФ)
- Бюджетный кодекс (БК РФ)
- Арбитражный процессуальный кодекс
- Конституция РФ
- Земельный кодекс (ЗК РФ)
- Лесной кодекс (ЛК РФ)
- Семейный кодекс (СК РФ)
- Уголовно-исполнительный кодекс
- Уголовно-процессуальный кодекс
- Производственный календарь на 2025 год
- МРОТ 2026
- ФЗ «О банкротстве»
- О защите прав потребителей (ЗОЗПП)
- Об исполнительном производстве
- О персональных данных
- О налогах на имущество физических лиц
- О средствах массовой информации
- Производственный календарь на 2026 год
- Федеральный закон "О полиции" N 3-ФЗ
- Расходы организации ПБУ 10/99
- Минимальный размер оплаты труда (МРОТ)
- Календарь бухгалтера на 2026 год
- Частичная мобилизация: обзор новостей
- Постановление Правительства РФ N 1875
,